项目概况
本项为天然气井场计量生产管汇撬提供RTU数据采集控制系统,实现生产数据采集及上传,并能够实现突出事件紧急自动控制。因为天然气本身的属性,对整个系统的安全性、稳定性要求极高。各井式井场RTU均采用9井式RTU模式,因其需要采集和控制的仪表种类多,数量大,因此对RTU整体的采集控制性能提出更高的要求。
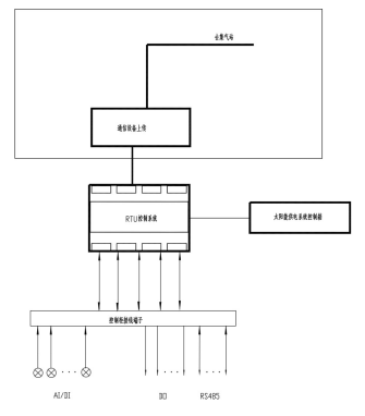
系统组成
1、现场计量撬仪表传感器
包括管线压力、油压、井口压力变送器27台(AI),流量计9套(RS485温度、瞬时流量、累积流量),电动开关阀9套,电磁阀SDV(紧急判断)阀9个、视频监控——作用是现地检测,设备监测控制
2、9井式RTU控制柜——数据采集上传,下达控制
3、传输网络:光纤
4、上级站场监控中心




系统介绍
◆RTU系统控制柜
*计量撬运行数据采集:生产计量橇参数:管线压力、温度、管线瞬时、累计流量(旋涡流量计9台,RS485);
*计量撬设备运行状态监测;
*气动开关阀9台,配套远程关断用电磁阀SDV 阀(9个)反馈信号:开状态、关状态,无源触点;
*视频数据采集:摄像机信号接入RTU 箱内交换机;
*供电系统监测:太阳能装置运行情况监测,RS485输出;
*RTU本地/远程控制:现场配有组态触摸屏,及MGTR-W4040 智能终端,通过监控出气流量、压力 ,在超压和低压时实现自动关闭阀门,即紧急情况下自动关断阀门。支持远程关阀,停产维护。
◆供电系统
井场的监控摄像机供电均由太阳能供电系统提供,供电电压为DC 24V。太阳能供电系统需保证通信设备24h正常工作,同时其储备电量至少可以满足5个连续阴雨天的供电要求。
◆井场视频监控
监控系统对整个井场设备运行及人员活动区域实现全天候监视,预防各类盗窃、破坏井场设施事件发生,保证生产安全。在井场的非防爆区域设置高清网络红外球形摄像机,摄像机安装在光伏发电杆上(4m),数据通过超五类屏蔽双绞线接入井场 RTU 控制柜内的网络交换机,最终通过光纤将视频图像上传至上级站场。
系统特点
◆整体设计原则:安全、适用、经济、可靠;
◆现场安装及使用工况恶劣,所有产品均要求工业线标准,耐温-40~80℃;
◆箱体采用室外安全防护箱,凉亭设计,具有防雨,通风,隔热的功能;
◆现场为太阳能供电,要求系统工作功耗低,整体功耗≦30W;
◆RTU箱除DO点外,所有信号均安装安全栅浪涌保护器,提高整体安全性;
Copyright © 2022-2025 All Rights Reserved. 冀ICP备12015236号-1